天眼查天眼风险信息显示,近日,万科A(000002)新增一则股权冻结信息,股权所在企业为万纬物流发展有限公司,冻结股权数额2.5亿人民币,冻结期限为3年,执行法院为江苏省徐州市中级人民法院。

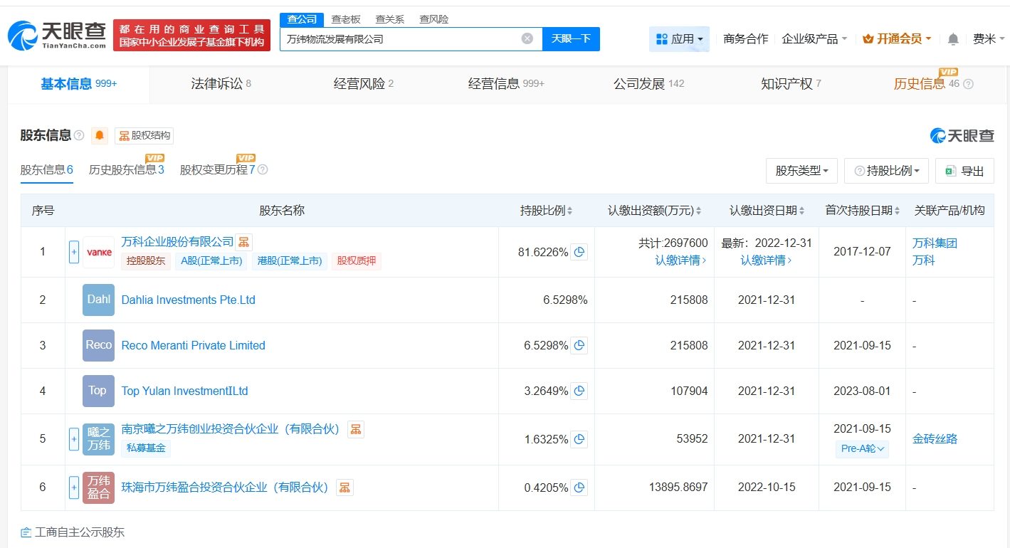
万纬物流发展有限公司成立于2017年12月,法定代表人为吴蓓雯,注册资本约330.5亿人民币,经营范围包括普通货物仓储服务、国内货物运输代理、供应链管理服务等。股东信息显示,该公司由万科企业股份有限公司、Dahlia Investments Pte.Ltd、Reco Meranti Private Limited等共同持股。

万科被冻结2.5亿股权  第1张

万科被冻结2.5亿股权  第2张

万科被冻结2.5亿股权  第3张